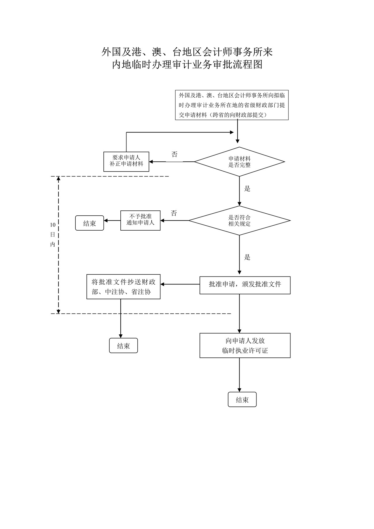
港、澳、台地区会计师事务所临时办理审计业务审批流程图

上一篇:
省属高校化解基本建债务工作自查表
2023-10-06
2023-10-06
上传时间:2023-10-06
文件类型:财税表单
文件格式:WORD
下载数量:601
文件来源:江苏省财政厅
文件页数:--



关注公众号
皖公网安备 34011102003330号